一说到做抖音,可能很多人首先想到情况大概如下,抖音直播一定是要真人出镜做个人ip做大网红才行,抖音视频一定要视频内容质量要比肩舌尖上的中国才可以。
但凡先入思想出现如上说的情况,那么大家入行抖音的动力已经就减半了,再加上对抖音变现方式的不了解或迷茫,几乎是望而却步了。其实这是大家的思想停留在抖音靠粉丝靠播放量挣钱的时代,完全没考虑过做抖音其实不就是讲究曝光或获客?也就是类似于网站在百度搜索结果页展示前排一个道理!
做抖音在我的思路中就是引流,目前找免费流量的平台抖音是最快最直接的,毕竟抖音的用户兴趣推荐机制是天下第一的。例如做抖音视频就是通过内容播放来获得曝光,但直播引流是更为有效,比如我们的手游直播,直播间的人气也就是在线人数个位数是常态,两位数是惊喜,三位数是抖音对你的认可与推流,超过百人在线的直播间,说明直播运营很成功,打败90%的其他直播间,说道粉丝量,抖音靠粉丝吗?当然那些大V肯定是靠粉丝吃饭的,像我们一个手游类型的抖音号直播一年下来一个号几千粉。
下面就是核心思路了,直播间看在线人数只是一个数据,重点是看场观人数,也是一场直播下来观看你直播间一起有多少人,其次是看转化到加抖音粉丝群的用户有多少,这两个才是做抖音的核心数据,做任何行业无非就是为了获客嘛,只要用户关注并进入粉丝群后,基本上这个用户就算被你拿捏了!不管是是在粉丝群带货卖东西,还是引导加企微到你的私域,再或者是直接在粉丝群推手游cps链接。
说到这里,不得不说推手游就是有先天优势,引导好、口才好、服务好,用户就会在你这里下载游戏,然后你又说我不玩游戏不懂游戏怎么办,将这一套玩法转嫁到其他任何类型的cps我觉得都是通用的,但是还是觉得游戏是最完美的!
最后,就是案例分享了,案例一就是传奇手游直播,直播了3个月也就是4千粉丝,直播间挂小手柄,是为了得到抖音平台的推流,就好比很多聊天主播会挂一小黄车一个道理,其实收入大头不是在抖音小手柄,而是在粉丝群推的手游cps链接。
粉丝量不到5千,全部是日常直播关注的,没投过任何付费流量。

引导进抖音粉丝群的用户就更可观了,看下群人数吧,现在去哪里找这么多垂直属性的用户呢?除了抖音,无他了吧。
cps后台一天的收入,当然昨天是端午节,用户充值多比较正常。
当然传奇直播需要抖音号有播传奇题材游戏的白名单才能播,就是抖音号有传奇白名单才能播任意款传奇手游画面,无白名单开播会封号的。
下面就是案例二分享, 不需要白名单,达到抖音直播最低要求就能开播,方法一样,靠的不是通过小手柄收入,都是在直播间引导加抖音粉丝群或者直接直播间挂企鹅QQ群的贴图,再继续引导用户在粉丝群或企鹅QQ群当中下载直播间所直播游戏对应的游戏cps链接。
掌机小精灵这个号到今天直播一年了,粉丝也就5千多。
直播间,个位数,不要小看个位数直播间,要看充值数据。
cps后台同样截取一天的数据。
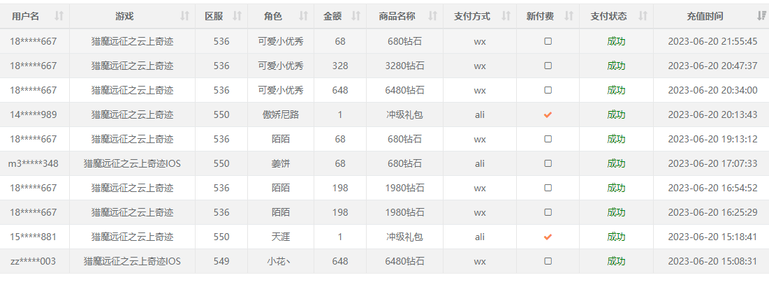
再下来就是案例三,如果说直播传奇白名单是一个门槛,直播掌机小精灵需要对游戏玩法比较深入,那么这个猎魔远征手游,就是不需要玩游戏,甚至不需要懂游戏都能操作,因为类似猎魔远征的手游是一款返利服手游,游戏玩家只有一进游戏就会发放200个648充值(是的,真真实实送的,也就是玩家能白嫖到的),然后通过在直播间宣传白嫖福利,引导用户先进粉丝群,然后再粉丝群再引导用户加小助理的企业微信,为啥用企业微信呢,因为企业微信目前最好的私域crm客户管理app了,游戏用户就是你的潜在消费用户。
用户加到企业微信后,发完白嫖福利,其实游戏中每个用户都能领取福利就等于大家都在同一起跑线,那么要玩的比别人强,就只有充值了,这里面就是一堆话术引导了,类似做销售的过程。
播猎魔远征的号同样是直播一年多了,粉丝量还不到2千。
返利服游戏因为涉及到话术营销,所以分成都是70%-80%的,推广者拿这么多,是的,自没错!下面是猎魔远征cps推广的一些数据。

说一千道一万,其实在抖音推游戏的方法太多了,我只是着重讲解了直播这一块,其实还有seo方法,流量为王,能让广大免费的抖音用户发现你的推广的产品就是赢家,另外直播了,就等于短视频也就跟着做起来了,做视频最重要是原创素材,直播切片就是最好的素材。
个人能不能开播播手游推cps?答案肯定是可以的,提前是你要有魄力转行,不能三天打鱼两天晒网,团队作战,招募主播或运营相对更为专业一些,适合小型公司。直播最终是讲究方法技巧的,不是说你一上来就能开干,直播话术、游戏推广话术、用什么手段吸引用户进抖音粉丝群或私域群、怎么发链接不会被抖音风控等等细节就都是比较深层次的直播运营办法或技巧了。关注我4414持续更新的内容,或者想知道这些案例具体抖音号是什么的,可以与我进行更深层次的交流。












暂无评论内容